

ZTR99系列不锈钢微压减压阀,单级式膜片减压结构,橡胶,四氟膜片压力传输,专门为微压使用要求设计,输出压力稳定,主要应用于小流量,气体系统(有适用于液体的结构.
|
||||||
|
特性参数: |
材质: |
重量: |
||||
|
· 最大输入压力:50,100 Psig · 输出压力:0-5KPa,0~25,0~50, 0~100KPa · 安全测试压力:1.5 倍的最大输入压力 · 适用温度:-80°F 至+446°F (-80℃ 至+230℃) · 内泄漏率:2×10-8 atm cc/sec He · C v 值:1.1 |
· 母 体:316L, · 上 盖:316L, · 膜 片:NBR, VITON · 过滤网:316L(10μm) · 阀 座:PCTFE,PTFE ,NBR · 弹 簧:316L · 阀芯顶杆:316L |
· 3.4kg |
||||
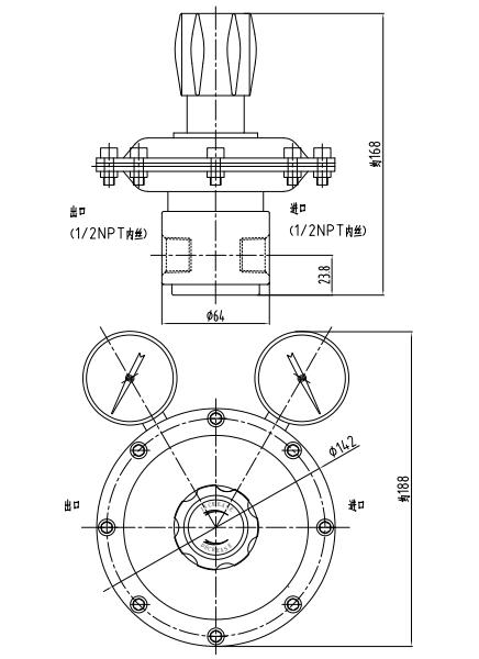
母体孔位
|
系列 |
ZTR99 |
|
母体 |
SS316L |
|
上盖 |
300 Series stainless steel |
|
垫片 |
PCTFE |
|
阀杆 |
SS316L |
|
膜片 |
三元乙丙或PTFE |
■ 订购指南
|
EX:ZTR99 |
L |
B |
D |
G |
G |
0 2 |
0 2 |
P |
|
系列号 |
母体材质 |
母体孔位 |
输入压力 |
输出压力 |
压力表 |
进气形式 |
出气形式 |
选项 |
|
ZTR99 |
L:SS316L SS304 |
A |
D:100psig |
G:0-5kpa |
G:无压力表 |
00:1/2" NPT(M) |
00:1/2" NPT(M) |
P:面板 |
|
|
|
B |
F:50psig |
I:0-10kpa |
(kpa) |
03:3/8" NPT(M) |
03:3/8" NPT(M) |
|
|
|
|
D |
E:35PISg |
K:0-50kpa |
P:附压力表(配出口单表) |
04:1/2" NPT(F) |
04:1/2" NPT(F) |
|
|
|
|
|
H:25PISg |
L:0-100kpa |
W:压力表(进出口双表) |
05:10mm卡套 |
05:10mm卡套 |
|
|
|
|
|
|
Q:180kpa |
|
12:3/8"卡套接頭 |
12:3/8"卡套接頭 |
|
|
|
|
|
|
S:0-500kpa |
13:1/2"卡套接頭 |
13:1/2"卡套接頭 |
|
|
|
|
|
|
|
|
其它形式接头可供选择 |
其它形式接头可供选择 |
|
|
|
|
|
|
|
|
|
|
|
|